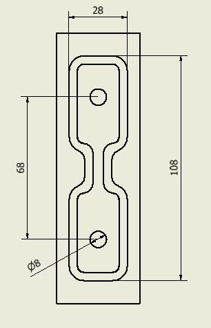
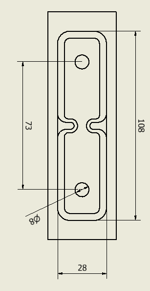
This report describes the utilization of equipment at BTH Innovation Labs for the project work titled ‘The effects of stress triaxiality on the fracture strain of polymer’. In this project, polymer specimens of different geometries namely, A10, PS and Shear were prepared using cutting dies and tested in uniaxial tension in the MTS Qtest100 tensile testing machine. The test material was High density polyethylene (HDPE) used in Tetra Pak packages.



To create (cut-out) these geometries from injection moulded HDPE polymer sheets, a curtail step was to manufacture the cutting dies. Based on a manufacturing feasibility study, CAD models of the cutting dies for each geometry were created in Autodesk Inventor. Using these CAD models, G-codes were created that could be used in the CNC machine available at BTH Innovation Labs.




Test measurements of these specimens were at important step towards understanding the fracture and failure behaviour of HDPE. /Pratik Powar